液压支架液压系统中用以闭锁液压缸中的液体,使之承载的控制元件为液控单向阀。液控单向阀常用的型号: KDF1B 、KDF1C、KDF2Z、KDF 1d、ZDF-42/200

液控单向阀型号
| 序号 | 图号 | 产品名称 | 规格型号 | 单位 |
|---|---|---|---|---|
| 1 | PWZ1003 | 液控单向阀 | PWZ1003 | 套 |
| 2 | DS10A | 液控单向阀 | 不锈钢 | 套 |
| 3 | JKDF1B | 液控单向阀 | JKDF1B | 套 |
| 4 | ZT00FD-03 | 液控单向阀 | Q/ZZM2050-87(KDF1C) | 套 |
| 5 | ZT00FD-04 | 液控单向阀 | KDF1d | 套 |
| 6 | FDF1d | 液控单向阀 | FDF1d | 套 |
| 7 | KDF1B | 液控单向阀 | 件 | |
| 8 | ZKF2 | 液控单向阀 | ZKF2 | 套 |
| 9 | GBKF2 | 液控单向阀 | GBKF2 | 套 |
| 10 | KDF2 | 液控单向阀 | KDF2 | 套 |
| 11 | DS10X | 液控单向阀 | 不锈钢 | 套 |
| 12 | ZT00FD-06 | 液控单向阀 | YDFB200/400 | 套 |
| 13 | ZT00FD-05 | 液控单向阀 | ZDF-42/200 | 套 |
| 14 | YDFC-200/400 | 液控单向阀 | YDFC-200/400 | 套 |
| 15 | YKF-42/125 | 液控单向阀 | YKF-42/125 | 套 |
| 16 | KYKDF10 | 液控单向阀 | KYKDF10 | 套 |
| 17 | FDY280B | 液控单向阀 | FDY280B | 套 |
| 18 | YDF-45/400G | 液控单向阀 | YDF-45/400G | 套 |
| 19 | FDY280-00C | 液控单向阀 | FDY280-00C | 套 |
| 20 | FYKZ16 | 液控单向阀 | 套 |
液压支架液压系统中用以闭锁液压缸中的液体,使之承载的控制元件为液控单向阀。
一、液控单向阀常用的型号:
KDF1B 、KDF1C、KDF2Z、KDF 1d、ZDF-42/200
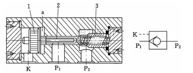
二、液控单向阀示意图及机能符号:

三、液控单向阀试验方法与要求:
a、密封可靠,特别是锁紧立柱下腔液路的液控单向阀,需长时间保持绝对密封。
b、动作灵敏,尤其要求关闭及时,保证刚刚锁紧的液压缸中的压力不低于泵站
供液压力的90%。
C、阻力损失小
Q≤125L/min Δp ≤5MPa
125L /min ≤ Q≤250L/min
Δp≤6MPa
250L /min ≤ Q Δp≤7MPa
d、瞬态冲击,卸载过程最大冲击压力值不得大于公称压力的115%。
e、工作寿命长,保证工作面推进800-1000米不需更换。寿命试验3万次。
四、液控单向阀作用:
主要用来闭锁液压支架立柱千斤顶工作腔中的液体,而使之保持压力。当液压支架立柱千斤顶另一腔进液时,同时给该阀的控制腔供液,将阀打开,使液压支架立柱千斤顶工作腔中的液体回液。
五、液控单向阀检测标准
1、 阀体衬套不得有裂纹、撞伤变形等缺陷。
2、 阀内零部件所有孔道、螺纹底部不得有积垢等杂物。
3 、 阀体和衬套、螺纹有轻微损伤可修复使用,新换件应去除毛刺。
4 、 阀内弹簧不得有锈斑或断裂、塑性变形不大于5%。
5、 阀芯及其它镀层表面,镀层不得胶落和出现锈斑。
6 、 所有密封件全部更换新件。
7 、 阀座锥形聚甲醛密封及阀芯接触表面粗糙度不得大于Ra0.8。
8 、簧两端面必须磨平,使两端面与中心线垂直。
六、液控单向阀一般故障的处理办法:
|
液 控 单 向 阀 |
不能闭锁油路 |
1、阀芯与阀座密封处有杂物。 2、阀垫或O形圈损坏。 3、阀芯多次冲击变形,蹩卡不复位。 4、与之配套的安全阀损坏。 |
1、拆卸清理杂物。 2、更换密封件。 3、更换阀芯或整体更换 4、更换维修。 |
|
闭锁腔不回液 立柱千斤顶不 降柱 |
1、顶杆变形、折断、打不开阀芯。 2、顶杆处密封损坏,向回路串液。 3、控制油路堵塞,不通液。 4、顶杆与壳体或阀套蹩卡,推不动。 |
1、更换顶杆。 2、更换密封件。 3、检查管路,保障畅通。 4、更换。 |
|
| 立柱上腔涨缸 |
1、液控腔不回液或阀接板孔不透。 2、弯头、胶管等管路不通。 3、回液截止阀、回油断路阀没打开。 4、操纵阀不回油或打开间隙太小。 |
1、检查更换。 2、检查更换。 3、打开截止阀。 4、维修操纵阀。 |
![[field:title function='html2text(@me)'/]](/static/upload/image/20251217/1765938453651397.jpg)
![[field:title function='html2text(@me)'/]](/static/upload/image/20251217/1765938370253855.jpg)
![[field:title function='html2text(@me)'/]](/static/upload/image/20250915/1757906885102576.png)